
















Mostek diodowy alternatora ARC2016 typ HITACHI

Parametry
- Stan
- Nowy
- Faktura
- Faktura VAT
- Producent części
- As-Pl
- Typ samochodu
- 4x4/SUV, Samochody osobowe, Samochody dostawcze, Samochody ciężarowe, Samochody kempingowe, Autobusy
- Numer katalogowy części
- ARC2016
- Numery katalogowe zamienników
- A.Z. Meisterteile AZMT-49-036-1082, CASCO CRC20104AS, ERA 215452, HC-Cargo 230094, HOFFER 52064, ITAB AUTOMOTIVE 21320104AV, MEAT & DORIA 52064, PowerMax 81116214, WAI IHR749, WILMINK GROUP WG2012514, WILMINK GROUP WG2012570, WILMINK GROUP WG2262523, WILMINK GROUP WG2262557
- Numer katalogowy oryginału
- HITACHI L170G-23203, ISUZU 8971226440
Opis produktu
Mostek diodowy alternatora AS-PL ARC2016

Całkowicie nowy zestaw prostowniczy alternatora od polskiej firmy AS-PL. Nasz mostek to wysokiej jakości produkt specyfikacją i parametrami nie odstępujący od oryginalnej części. Jest to znakomity zamiennik, dla oryginalnie zamontowanego prostownika w Twoim alternatorze.
Gotowy do montażu bezpośrednio po wyjęciu z kartonu. Całość cechuje wzorowy stan oraz wysoka jakość.
- Napięcie: [12v]
- Brand new AS-PL Alternator rectifier
- STANDARD LINE
- gotowy do bezpośredniego montażu
- fabrycznie nowy nie regenerowany!
- idealny zamiennik oryginału
- znakomity stan techniczny
- Producent: AS-PL
- Zamiennik dla: HITACHI
Oferowane przez nas towary podlegają surowym procedurom testowym. Spełniają najwyższe wymagania w zakresie montażu oraz parametrów technicznych
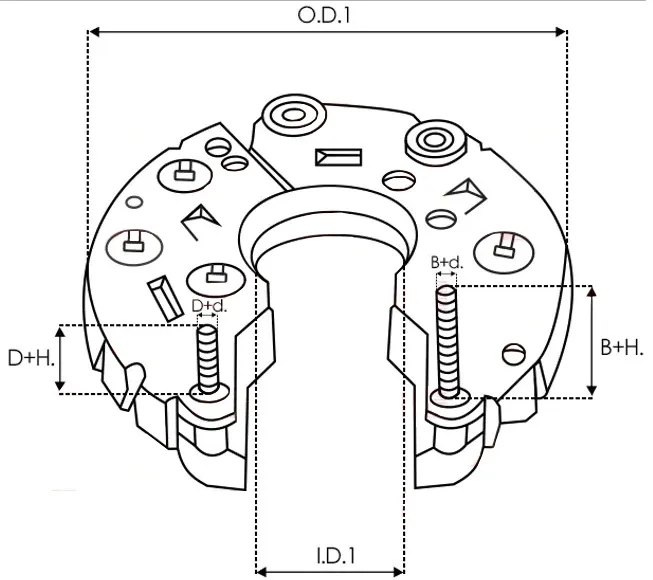
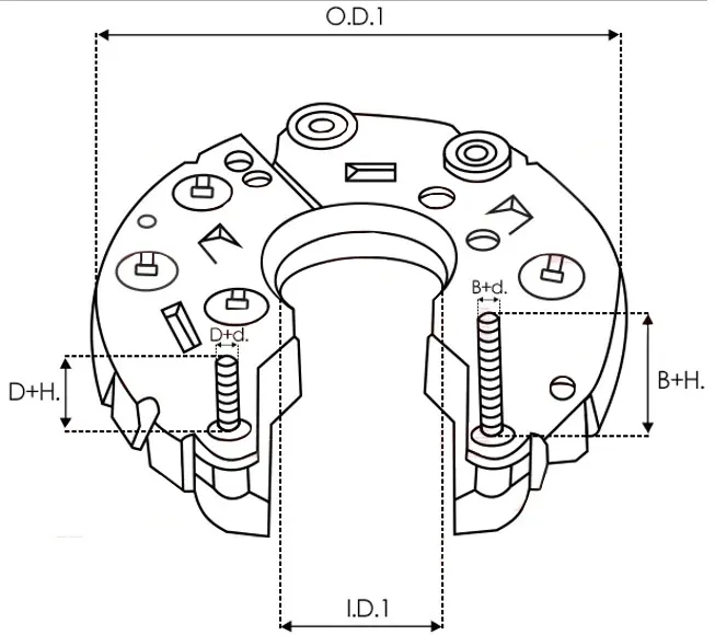
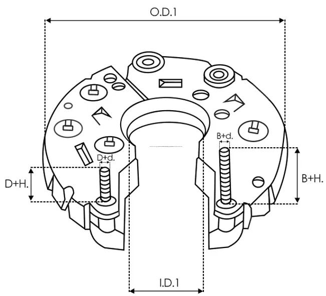
Specyfikacja techniczna:
- Grupa: prostownik alternatora
- O.D.1 [ mm ]: 115.00
- Diody [ szt. ]: 6
- Natężenie Diody [ A ]: 35
- B+H. [ mm ]: 38.60
- B+d. [ mm ]: M8X1.25
- Rozstaw otworów montażowych [ mm ]: 65

Numery referencyjne:
- 1116214: POWERMAX
- 139242: HUCO
- 21145401BN: REAL
- 230094: CARGO
- 81116214: POWERMAX
- 8971226440: ISUZU
- 940038279: MAGNETI MARELLI
- CQ1080212: CQ
- CRC20104AS: CASCO
- IHR749: WAI / TRANSPO
- IHR749AV: WAI / TRANSPO
- L170G-23203: HITACHI
- REC-651: UNIPOINT
- RH48: MOBILETRON
- RTF49957: WOODAUTO
- SRC20104: SANDO
Mostek alternatorów:
- 8971502000: ISUZU
- 8971502001: ISUZU
- A2001: AS-PL
- LR170505: HITACHI
- LR170505B: HITACHI
O producencie:
Oferowane przez AS-PL towary podlegają surowym procedurom testowym oraz spełniają najwyższe wymagania w zakresie montażu oraz parametrów technicznych. Dostarczanie niezawodnych produktów dostosowanych do aktualnych oczekiwań rynku przy wykorzystaniu nowoczesnych technologii to najważniejszy cel AS-PL, który jednocześnie stanowi misję przedsiębiorstwa.
Wszystkie alternatory oraz rozruszniki oferowane przez AS-PL, testowane są na specjalistycznych maszynach, a wyniki testów dołączane do oferowanych produktów. certyfikat ISO 9001:2015 jest potwierdzeniem, że działalność firmy jest prowadzona nie tylko zgodnie ze standardami jakościowymi, ale również w sposób kontrolowany wpływa na środowisko naturalne.
















