





Regulator alternatora 235837 HC-Cargo

Parametry
- Stan
- Nowy
- Faktura
- Faktura VAT
- Producent części
- HC-Cargo
- Typ samochodu
- 4x4/SUV, Autobusy, Niezdefiniowany, Samochody ciężarowe, Samochody dostawcze, Samochody kempingowe, Samochody osobowe
- Numer katalogowy części
- 235837
- Numery katalogowe zamienników
- AS-PL ARE6171S, CASCO CRE40145AS, HERTH+BUSS ELPARTS 35000071, ITAB AUTOMOTIVE 21440145AV, WAI IN6300
- Numer katalogowy oryginału
- TOYOTA 27060-0R011
Opis produktu
Regulator HC-CARGO 235837

Całkowicie nowy regulator napięcia alternatora od firmy HC-CARGO. Nasz regulator to wysokiej jakości produkt specyfikacją i parametrami nie odstępujący od oryginalnej części. Jest to znakomity zamiennik, dla oryginalnie zamontowanego regulatora w Twoim alternatorze.
Gotowy do montażu bezpośrednio po wyjęciu z kartonu. Całość cechuje wzorowy stan oraz wysoka jakość.
- Opis szczegółowy
Waga: 0,48 kg
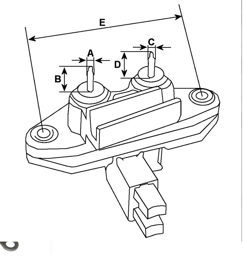
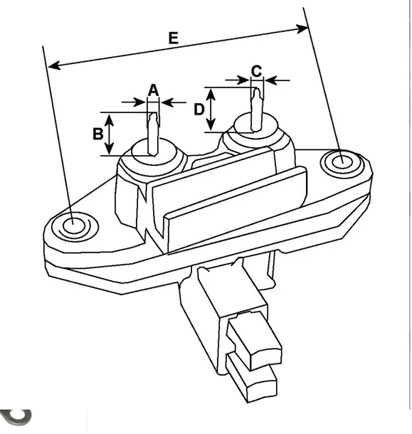
Typ regulatora Elektroniczny, Rozstaw otworów mocujących mm 43.50, Napięcie 14
- gotowy do bezpośredniego montażu
- fabrycznie nowy nie regenerowany!
- idealny zamiennik oryginału
- znakomity stan techniczny
- Producent: HC-CARGO
- Zamiennik dla: Bosch
Oferowane przez nas towary podlegają surowym procedurom testowym. Spełniają najwyższe wymagania w zakresie montażu oraz parametrów technicznych
Specyfikacja techniczna:
Grupa: regulatory alternatora
- Dist. mount. holes : 43.50
- Regulator plug : PL92
- Regulator type : Electronic
Wymiary
Typ regulatora Elektroniczny
E Rozstaw otworów mocujących mm 43.50
Dane elektryczne
Napięcie 14

Numery referencyjne
Zastępuje│Lista części
- 126600-3000 Denso
- VR-H2005-146 Mobiletron
Stosowany w - 235837
Denso (1)
Denso 104210-5140 Lista czesci Może być zastąpiony tym produktem 114490 - Alternator
Toyota (1)
Toyota 27060-0R011 Lista czesci Może być zastąpiony tym produktem 114490 - Alternator

O producencie:
CARGO to uznana na świecie marka części elektrycznych i elektromechanicznych, produkowanych pod nadzorem firmy BOSCH, znanego z najwyższej jakości właściciela marki CARGO.
Dzięki wysokim standardom technicznym i reżimom produkcyjnym marki macierzystej, produkty CARGO oferują najwyższą jakość połączoną z atrakcyjną ceną.





