











Parametry
Opis produktu
Markowy produkt na 5 gwiazdek ***** Abus Security Tech Germany
Kłódka szyfrowa 3 rzędowa Travel USA
Specyfikacja:
- produkt: nowy
- producent: Abus Security Tech Germany
- model: kłódka szyfrowa 148TSA/30 B (Nr art. 53094)
- ilość kłódek: 1 sztuka
- ilość kluczy: brak
- zamek szyfrowy 3 rzędowy do indywidualnego ustawienia
Zalety produktu:
TSA to skrót od amerykańskiej organizacji Transport Security Administration. Pracownicy TSA rozpoznają bagaże zabezpieczone zamknięciami z atestem i w razie ewentualnej kontroli bagażu są zobligowani do otwarcia bagażu bez uszkodzenia torby czy samych zamków. Aby zapewnić jak największy komfort w trakcie podróży, Yale wprowadził nową kolekcję kłódek podróżnych, które spełniają wymogi TSA.

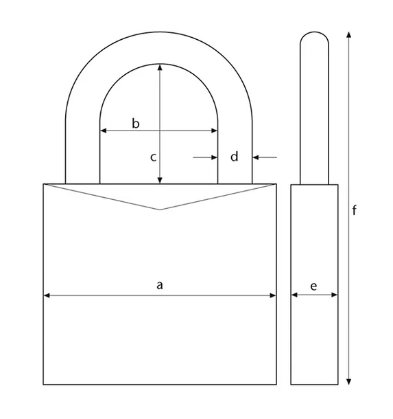
Wymiary [mm]*:
- A: 30 [szerokość]
- B: 17 [szerokość prześwitu jarzma]
- C: 40 [wysokość prześwitu jarzma]
- D: 2 Ø [średnica jarzma]
- E: 12.5 [głębokość]
- F: 96 [wysokość całkowita]
*Wymiary kłódek mogą nieznacznie różnić się od rzeczywistych +-1-2mm

8Opis:
- miejsce do wpisania nazwiska
- kod trzycyfrowy do indywidualnego ustawienia
- zabezpieczanie przedmiotów niewielkiej wartości w miejscach o niskim ryzyku kradzieży
- przydatne do zamykania walizek i toreb podróżnych
- 147TSA/30: idealna do wyjazdów do USA - amerykańskie służby bezpieczeństwa mogą otworzyć i zamknąć walizkę nie uszkadzając kłódki przy pomocy specjalnego klucza (logo TSA)
- komfortowa obsługa bez klucza, niewielka waga















