












ZESTAW GENIUS GBAT 400 4xPILOT DO BRAM

Parametry
- Stan
- Nowy
- Faktura
- Faktura VAT
- Waga (z opakowaniem)
- 18 kg
- Rodzaj napędu
- Do bram skrzydłowych
- Maksymalna waga skrzydła
- 250 kg
- Maksymalna długość skrzydła
- 4 m
- Maksymalna liczba cykli na dobę
- 240
- Moc silnika (W)
- 280 W
- Napięcie zasilające
- 230 V
- Kod producenta
- 5170212
- Marka
- Genius
- Zawartość zestawu
- centrala sterująca, fotokomórki, inna, klucz odblokowujący, mocowania, napęd, pilot, światło ostrzegawcze, zestaw montażowy z płytą
Opis produktu

ZESTAW GENIUS GBAT 400 4PILOT G-BAT
SKŁAD ZESTAWU:
- 2x Siłownik GENIUS G-BAT 400
- Para fotokomórek (1szt nadawcza, 1szt odbiorcza) Genius Vega
- 4x piloty 4-kanałowe Genius ECHO
- Odbiornik 2-kanałowy Genius Bravo
- Elementy do montażu napędów do słupków i skrzydeł bramy
- Centrala sterująca Brain 592
- Obudowa do centrali
- Klucz awaryjnego wysprzęglenia 2 szt.
- Kondensator rozruchowy 2 szt.
- Ogranicznik centralny
- Instrukcja montażu siłownika G-Bat oraz programowania centrali w języku polskim - do pobrania
- Karta gwarancyjna 2 lata
- Pomoc techniczna podczas montażu - telefoniczna
·IDEALNE ROZWIĄZANIE DLA BRAM PRZYDOMOWYCH Napęd GENIUS GBAT 400 jest najbardziej praktycznym i ekonomicznym rozwiązaniem przy automatyzowaniu bramy o długości skrzydła do 4 m. (dwa skrzydła razem 8 m) Napęd wyposażony jest w siłowniki tubowe – samoblokujące i dlatego nie wymaga stosowania dodatkowych zamków. Napędy GENIUS GBAT 400 jest produkowany na tych samych podzespołach co 414. Zastosowany jest ten sam silnik o mocy 280W i sile ciągu 3500 N !!!
·ŁATWY MONTAŻ I PEWNE DZIAŁANIE Ze względu na swoją tubową konstrukcję i sposób mocowania siłowników do bramy (od czoła) napęd GENIUS GBAT 400 jest szybki i łatwy w montażu, bez konieczności wykonywania kosztownych przeróbek adoptujących. Dobry punkt podparcia bramy gwarantuje pewne blokowanie po zamknięciu nawet w przypadku szerokich bram.
·BEZPIECZEŃSTWO Zabezpieczenie przeciwzgnieceniowe zapewnia moduł elektroniczny instalowany na płytce centrali sterującej, który bezpośrednio kontroluje siłę ciągu napędu. W przypadku awarii mechanizm odblokowujący umożliwia odblokowanie skrzydeł bramy i obsługę ręczną.
·MINIMALNE KOSZTY OBSŁUGI, WYSOKA NIEZAWODNOŚĆ Koszt obsługi napędu elektromechanicznego GENIUS GBAT 400 jest zdecydowanie minimalny. Urządzenie pracuje niezawodnie w każdych warunkach atmosferycznych, w zakresie temperatur zewnętrznych od-20°C do +5 5°C.

DANE TECHNICZNE SIŁOWNIKÓW:
- Zasilanie: 230V
- Zasilanie silnika: 230V
- Pobór mocy: 280W
- Pobór prądu: 1,2A
- Prędkość obrotowa silnika: 1400 obr./min
- Prędkość wysuwu trzpienia: 1,5 cm/s
- Maksymalna siła ciągu: 3500 N !!!
- Zakres temperatur pracy: -20°C / +55°C
- Stopień ochrony: IP44
- Ciężar: 6,5 kg
- Wbudowany wyłącznik krańcowy w siłownik- BRAK (wymaga zastosowania odboju montowanego w podłożę)
- Droga radiowa - Genius Bravo
4x PILOT ECHO 4-kanałowy 433MHz
- piloty pracują na częstotliwości 433 MHz. System ten jest odporny na zakłócenia, a przez to pracuje wydajniej.
- zasięg nawet do 200 metrów !
- sygnał wysyłany z pilota zabezpieczony jest algorytmem Rolling Code 70 bilionów kombinacji - kod dynamicznie losowo zmienny
- każdy pilot wyposażony jest w baterię.


CENTRALA STERUJĄCA BRAIN 592
- regulacja siły działania osobno dla każdego siłownika (8 poziomów)
- hamowanie skrzydeł bramy (delikatne zakończenie ruchu bramy)
- funkcja automatycznego zamknięcia po przejechaniu pojazdu
- bardzo proste programowanie
- funkcja opóźnienia drugiego skrzydła
- obsługa całkowitego i częściowego otwierania bramy (funkcja furtki)
- wejście na lampę sygnalizacyjną
- możliwość sterowania bramy wejściem N.O. (z domofony, przycisku z domu, telefonu komórkowego)
ODBIORNIK RADIOWY GENIUS BRAVO
- 2-kanały (całkowite otwarcie i funkcja furtki)
- pojemność do 256 pilotów
- kod dynamicznie losowo zmienny (Rolling Code)
- antena zwiększająca zasięg pilota


FOTOKOMÓRKI BEZPIECZEŃSTWA VEGA O ZASIĘGU 20M
Do instalacji natynkowej na słupkach lub na kolumnie. Fotokomórka kierunkowa samonastawna.
- zasięg działania: 20m
- ustawianie w osi - samonastawna
- wymiary: 41x130x42mm
- pobór mocy przez parę fotokomórek 50mA
- stopień ochrony: IP54
- zasilanie 24 VAC/VDC
Obudowa centrali sterującej
- Chermetyczna
- IP 55


UCHWYTY MONTAŻOWE
- uchwyty do zamocowania siłowników, komplet uchwytów do zamocowania na słupkach i skrzydłach bramy
- ocynkowane
POZOSTAŁE AKCESORIA ZAWARTE W ZESTAWIE
- Trzpienie montażowe do zamocowania siłowników do uchwytów montażowych
- Kluczyki odblokowujące w przypadku przerwy w dostawie energii elektrycznej
- Karta gwarancyjna
- Instrukcja w języku polskim
- Kondensator rozruchowy 2 szt.


Odbojnik dolny ocynkowany
Określa gdzie skrzydła mają się zatrzymać na zamknięciu, mocowany do podłoża
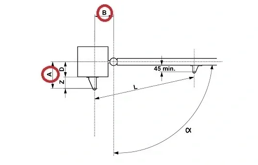
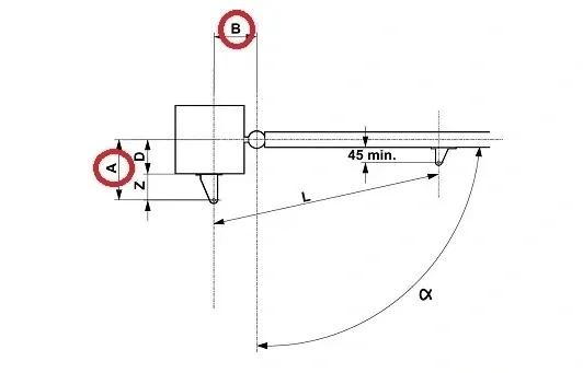
WYMIARY MONTAŻOWE SIŁOWNIKÓW G-BAT 400
Zalecane wymiary instalacyjne:
wymiary w mm do:
A: 245 B: 195 D: 195 Z: 45 L: 1090
Kąt otwarcie skrzydeł bramy do 110 stopni.

















